
介绍一种阀芯圆锥斜面微小孔钻削技术,针对零件的装夹定位和均布孔的分度问题进行分析研究,通过设计专用的圆锥斜面分度定位装置,并结合微小孔加工技巧,解决了此类零件的角度转换定位和微小孔钻削难题。
PART1
序言
阀芯是液压系统中各类控制阀、锁等零部件上的核心零件,依靠阀芯在阀锁内部孔道中的移动、旋转等动作,可以控制液压系统中液体的流动方向、流量及流速等。为了实现控制阀的某些功能要求,在阀芯上设计有许多小孔,以起到控制液体流量、阻尼和排气等作用。随着产品集成化程度越来越高,各种液压阀锁部件设计也越来越精密,结构愈发紧凑,阀芯零件的设计也趋向小型化、微型化,致使这些零件在加工过程中产生困难,依靠传统的加工方法难以解决,必须采取一些特殊的工艺措施。
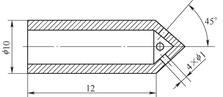
图1所示为生产实际中大量使用的一种小阀芯,其材质为GCr15钢,具有圆锥斜面结构,在圆锥斜面上需要加工圆周均布的0.8~1mm微小孔。钻孔过程中需将零件轴线与基准平面成45°角进行定位钻孔,第一个孔加工完成后,还需解决下一个孔的分度问题,而且该阀芯零件体积较小,使用常规加工方法加工此类零件具有一定的难度。

图1 小阀芯结构
PART 2
圆锥斜面微小孔加工存在的问题
小阀芯由于体积较小,形状结构特殊,需要在圆锥斜面上加工圆周均布的微小孔,使用常规钻削加工方法时,在零件的装夹、定位、钻孔及分度等操作中,均具有一定的难度,加工过程中频繁出现钻孔位置偏移、各孔分度不准及钻头折断等问题。加工难点具体体现在以下几个方面。
1)零件整体结构为圆柱与圆锥的组合,需钻孔位置处于圆锥部分,且孔轴线与圆锥母线垂直,而因为该圆锥面母线与零件轴线成一定角度,所以钻孔时必须将其轴线与基准平面成相应角度定位,使钻孔位置的圆锥母线与基准平面平行,方可使钻孔正常进行。
2)由于零件尺寸较小,且定位面为直径较小的圆弧面,与基准面多为线接触,在钻孔过程中极易受切削力、夹紧力等影响而发生位置偏移,致使钻孔位置偏差过大,严重时还会导致钻头折断。
3)该零件需要在圆锥斜面上加工圆周均布的微小孔,在加工完一个孔后,需要转换到下一个孔的位置,重新定位并夹紧,此步骤重复多次,方可完成单件零件的加工。由于零件尺寸较小,所以重复定位夹紧的过程中稍有偏差,就会导致各孔的位置产生较大的错位,影响产品质量。
4)由于零件上所钻孔的孔径为0.8~1mm,属于微小孔加工,所以对切削参数、钻头及操作人员的手法都有一定的要求。
综上所述,要顺利地完成阀芯圆锥斜面均布微小孔的加工,必须采取一定的工艺措施,解决其角度转换定位、夹紧、分度及切削参数选用等问题。
PART 3微小孔加工方案
阀芯零件在加工过程中,需进行角度转换的定位。考虑到阀芯结构为圆柱和圆锥组合,其表面为圆弧面,且尺寸较小,在定位装夹过程中容易滚动,使定位装夹困难,为此设计专用的定位装夹装置来完成该零件角度转换后的定位装夹,同时此装置还具有快速分度功能,能够高效准确地完成均布孔的加工。
解决了阀芯的定位装夹问题后,还必须对微小孔钻削的切削参数进行适当选择,同时对钻头及操作手法也有一定的要求。
3.1 分度定位钻孔装置
为了解决阀芯钻孔过程中的定位和分度问题,针对此类零件的结构特点,设计制作了专用的分度定位钻孔装置[1]。利用该钻孔装置,可以方便高效地对此类具有斜面结构的零件进行钻孔加工。
圆锥斜面分度定位钻孔装置如图2所示,主要由本体和V形基座构成。本体是横截面为正多边形的柱体,其端面中心加工出直径稍大于零件直径的孔,该孔直径以大于待加工零件直径0.1mm为宜,其深度与待加工零件圆柱部分长度相等。待加工零件穿入本体中心孔后,利用锁紧螺钉将其紧固,以限制其自由度,防止零件在孔中径向转动及轴向窜动。钻孔时,将装夹好零件的本体放置于V形基座的V形槽内,V形槽开口角度与零件的圆锥斜度一致,将零件斜面转换为与基准平面平行的位置,使钻孔得以顺利进行。第一个孔加工完成后,通过本体沿其轴线翻转,就可以完成零件的分度[2],进行下一个孔的加工。反复翻转本体,直至所有的孔加工完成。

图2 圆锥斜面分度定位钻孔装置
圆锥斜面分度定位钻孔装置具有以下特点。
1)利用本体与V形基座的配合,实现角度的转换,使零件的斜面与基准平面平行,与钻孔方向垂直,使钻孔顺利进行。
2)V形基座的V形槽开口角度可以根据零件的斜面角度要求进行定制,以适应不同的斜面角度钻孔。
3)利用本体的正多边形结构,沿其轴向做翻转,实现零件的分度。
4)本体可以根据零件的分度要求定制其正多边形的数目,以适应多种不同分度要求零件的钻孔。
图3所示为利用该装置加工阀芯圆锥斜面微小孔的实际操作情况。

图3 阀芯圆锥斜面微小孔钻削
3.2 切削参数选择及操作要领
小阀芯上需钻孔直径为0.8~1mm,属于微小孔范畴,此类微小孔在钻削时对切削参数有较高的要求。
钻头折断是微小孔加工时比较常见的问题。由于钻头直径较小,强度较弱,因此当加工过程中因钻头磨损或钻孔深度增加时切屑挤压而导致切削力增大时,就容易发生钻头折断的现象。转速是影响钻头磨损的重要因素,转速越高,钻头磨损越严重。在微小孔加工中,由于钻头直径较小,因此为了达到正常的切削速度,必须选择较高的转速,考虑到阀芯材料为GCr15高碳钢,硬度较高,为了避免钻头磨损加剧,钻头转速应该略低一些,选择在2000r/min左右[3]。
微小孔钻削时,钻头的进给应该灵活控制,操作人员应集中精力,随时注意手上的感觉,当感到进给力增大时,要及时控制钻头退出,清理切屑,如果切屑清理后仍需要较大的进给力,说明钻头磨损严重,需要修磨或更换钻头,以避免钻头因较大的切削力而折断。微小孔即将钻透时,由于切削深度发生变化而导致切削力减小,容易发生“扎刀”现象而导致钻头折断,此时应减小进给力,轻扶钻床手柄,控制好钻头的平稳进给,使钻头不会因进给过快而折断。图4所示为微小孔加工完成后的阀芯零件。

图4 微小孔加工完成后的阀芯零件
PART 4结束语
在实际生产中,此类小阀芯零件在液压系统中大量应用,阀芯上的微小孔在普通数控机床上加工时,出现钻头频繁折断的问题,这是因为普通数控机床无法感知钻头因磨损或切屑阻塞而引起的切削力变化。此外,该阀芯体积较小,钻孔方向特殊,在机床上装夹也比较困难。本文通过设计专用的圆锥斜面分度定位钻孔装置,采用手工操作钻床的方法来加工阀芯微小孔,可以凭操作人员的手感来控制钻头的进给,以避免因切削力变化而导致钻头折断。在多批次的小阀芯生产中,利用此圆锥斜面钻孔装置和微小孔钻削技术能高质高效地完成加工。
专家点评
小阀芯需要在圆锥斜面上加工圆周均布的小孔,零件的装夹、定位、钻孔及分度均具有一定的难度。作者因地制宜,在传统加工方法中采取一些特殊的工艺措施,通过专用工装夹具实现零件的定位和角度转换,高效准确地完成阀芯锥面均布孔的加工。
文章的亮点是圆锥斜面钻孔装置和微小孔钻削技术,继承发扬传统机械加工的优势和经验,钻孔装置简单实用、快捷方便,轻松解决了阀芯零件钻孔过程中的定位和分度问题。手工操作钻床加工阀芯微小孔,操作人员靠手感灵活控制钻头的进给,避免因切削力变化而导致的切屑挤压和钻头折断,加工方法非常适用于此类零件的多批次、小批量加工。